想升级系统版本吗,很多人都有这个需求,其实,升级过程并不复杂,不过,有些细节需要注意,否则,可能会遇到麻烦,今天,我们就来聊聊,系统版本升级那些事。
先看升级前的准备工作
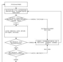
升级前,一定要做好备份,这是最关键的一步,因为,升级过程中,可能会出现意外,比如,数据丢失,或者,升级失败,所以,备份好重要文件,非常重要,同时,还要确保,设备电量充足,最好,连接上电源,然后,检查网络是否稳定,因为,升级包通常很大,需要稳定下载。
再看选择合适的升级方式
升级方式主要有两种,一种是OTA升级,也就是,在线升级,这种方式最方便,只要,在设置里点一下,系统就会,自动下载并安装,另一种是,手动刷机升级,这种方式,稍微复杂一些,需要,自己下载固件包,然后,通过电脑操作,不过,它适合,那些无法OTA的设备,或者,想体验测试版的用户。
接着看升级过程中的注意事项
升级过程中,设备可能会重启,这是正常现象,请不要,强行关机,或者,断开连接,然后,耐心等待,进度条走完,如果,升级时间过长,比如,超过一小时,那么,可以尝试,重启设备看看,不过,一般情况下,半小时内就能完成,升级时,最好别用手机,避免,操作中断。
最后看升级后的检查与优化
升级完成后,先别急着用,检查一下,系统版本号,确认,是否升级成功,然后,简单试用一下,看看,有没有明显bug,比如,应用闪退,或者,卡顿严重,如果一切正常,那么,可以,恢复之前的备份,接着,清理一下缓存,这能让,系统运行更流畅。
系统升级并不难,关键,在于细心准备,按照步骤来,通常,都能顺利完成,如果,遇到问题,别慌张,多查查资料,或者,问问客服,总能找到解决办法。


