慈溪单建人防工程项目建议书审批

作者:yxglyl88 时间:2026-01-06 09:27:11

申请需满足以下条件:符合人防相关法律法规及人民防空工程战术技术要求;纳入人防工程建设中长期规划,并契合城市与经济建设发展需求;由具备人防资质的咨询机构编制项目建议书;提交完整齐全的申报材料。

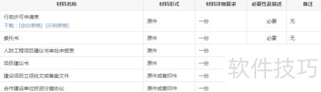
1、 所需材料清单

慈溪单建人防工程项目建议书审批

2、 办理步骤:

慈溪单建人防工程项目建议书审批

3、 根据浙江省实施〈中华人民共和国人民防空法〉办法第十四条规定,人民防空工程的设计必须经由人防主管部门审核批准后方可实施。

小编推荐
CPU-Zv2.18
CPU-Zv2.18 其他软件丨4.11MB
newfiletime中文版v8.18
newfiletime中文版v8.18 其他软件丨209.00KB
NTLitev2026.03.10876
NTLitev2026.03.10876 其他软件丨20.38MB
桌面日历v3.28.271.8527
桌面日历v3.28.271.8527 其他软件丨7.07MB
u深度v5.0.26.209
u深度v5.0.26.209 其他软件丨763.19MB
九阴真经ol1.0.2.560
九阴真经ol1.0.2.560 其他软件丨42.80GB
京东小金库 8.1.60 安卓版
京东小金库 8.1.60 安卓版 其他软件丨53.16 MB