系统怎么升级,这个问题很常见,很多人都会遇到,其实,升级系统并不难,只要掌握正确的方法,就能轻松搞定,今天,我们就来详细聊聊,系统升级的那些事儿。
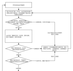
1、升级前的准备工作要做好升级前,先备份重要数据,这是最关键的一步,可以防止数据丢失,然后,检查设备电量,确保电量充足,最好连接电源,接着,确认网络环境,保持网络稳定流畅,了解当前系统版本,明确升级目标版本。
2、找到并开始升级操作准备工作完成后,就可以开始升级了,打开设备的设置菜单,然后,找到“系统更新”选项,接着,点击“检查更新”按钮,系统会自动检测,如果有新版本,会提示下载,点击“下载并安装”即可。
3、耐心等待升级过程完成开始升级后,需要耐心等待,下载过程,取决于网络速度和更新包大小,安装过程中,设备可能会自动重启几次,这是正常现象,请勿中断操作,升级完成后,系统会提示你,进行一些初始设置。
4、升级后检查与问题处理升级完成后,建议先检查系统版本,确认升级是否成功,然后,测试主要功能,看看是否运行正常,如果遇到问题,比如应用闪退,可以尝试重启设备,或者,重新安装有问题的应用,当然,也可以查阅官方帮助文档。
系统升级并不复杂,只要按照步骤操作,一般都能顺利完成,记住,备份数据是前提,耐心等待是关键,遇到问题别慌张,总有办法能解决,希望这篇文章,能帮你顺利完成系统升级。

