很多人想升级系统,但不知道怎么操作,其实方法很简单,跟着步骤来就行,今天我们就聊聊,怎么升级系统版本,让你轻松搞定。
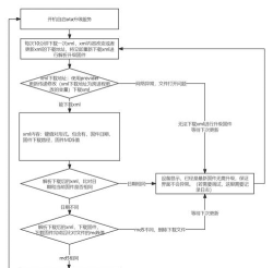
先看升级前的准备,升级前一定要备份数据,这是最重要的一步,防止升级失败,导致文件丢失,你可以用云盘备份,也可以用本地备份,总之要留个后路,然后检查电量,确保设备电量充足,最好连接电源,避免中途关机,最后确认网络,升级需要稳定网络,建议使用Wi-Fi,别用移动数据。
再看升级的几种方式,第一种是系统推送,设备会收到通知,你点一下就能升级,这是最省事的方法,第二种是手动检查,进入系统设置,找到软件更新选项,手动点击检查更新,如果有新版本,就能直接下载,第三种是电脑升级,用数据线连接电脑,通过官方工具升级,适合大版本更新。
接着看升级中的注意事项,下载升级包时,要保持网络畅通,不要中断下载过程,安装过程中,设备可能会重启,这是正常现象,不用紧张,升级完成后,系统会优化应用,可能需要一些时间,请耐心等待,不要频繁操作设备。
最后看升级后的处理,升级完先检查功能,看看新特性是否正常,试试常用应用,有没有出现闪退,如果遇到问题,可以尝试重启设备,或者恢复出厂设置,但记得先备份,如果一切正常,就享受新系统吧。
升级系统并不难,关键是要做好准备,按照步骤操作,就能顺利完成,希望这些经验,能帮到你。

