想给自家屋顶翻新吗,或者正在盖新房,屋顶施工确实让人头疼,很多人搜屋顶怎么做,其实就是想搞清楚,从哪开始,用什么料,怎么才能又结实又耐用,别担心,今天咱们就聊聊这个,把流程和要点都捋清楚。
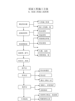
先看施工前的准备
动手之前,先得想明白,你家的屋顶是平顶还是坡顶,这决定了做法,平顶要考虑排水,坡顶要算好角度,然后就是量尺寸,算面积,买多少材料心里才有数,千万别凭感觉,不然材料多了浪费,少了耽误事。
材料选择是关键
屋顶材料太多了,沥青瓦便宜,施工快,金属板耐用,但价格高,陶土瓦好看,可分量重,你得根据预算和房子结构来选,比如老房子承重差,就别选太重的瓦,同时,防水卷材和保温层也别忽视,它们藏在下面,却至关重要。
核心施工流程
第一步是处理基层,旧屋顶要清理干净,有破损得先修补,然后铺防水层,一定要铺平整,接缝处处理好,接着做保温,这能让你冬暖夏凉,最后才是铺面层,瓦片要从下往上铺,一片压一片,钉牢靠,坡顶还要注意脊瓦的安装。
这些细节别忽略
屋檐和烟囱周围,是漏水的高发区,要做加强防水处理,俗称“女儿墙”的墙体根部,也要格外留心,排水口务必保持通畅,别让落叶堵住,施工时如果赶上下雨,一定要用篷布盖好,保护做好的基层。
屋顶工程不算简单,自己动手要量力而行,关键步骤最好请专业师傅,材料宁可买好一点的,毕竟它要为你遮风挡雨很多年,希望这些经验,能帮你理清思路。


